首页
产品展示
企业荣誉
产品视频
关于尚大
新闻中心
联系我们
1
2
3
4
视频中心
校直机视频
校圆机视频
扭拧机视频
滕州市尚大自动化装备有限公司
孔经理:15725691968
Q Q:512941061
邮编:277500
邮箱:kongqinganhefanji@163.com
网址:www.yeyaji68.com
地址:滕州市经济技术开发区腾飞西路455号
□ 您的位置:
网站首页
>
企业荣誉
>
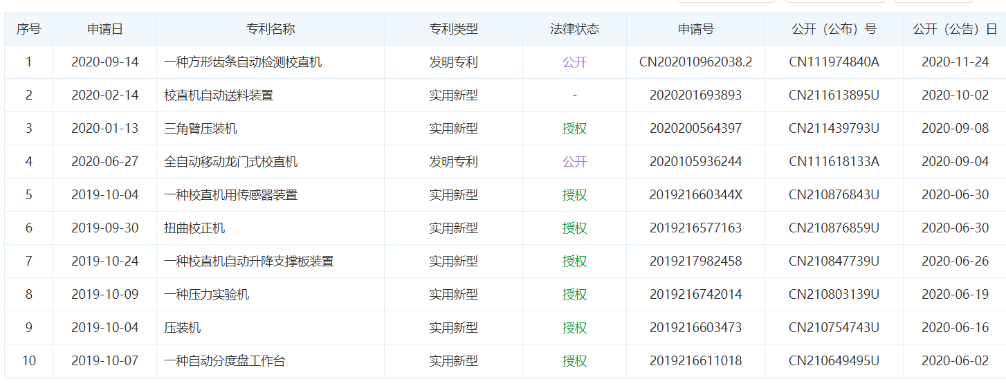
公司专利
公司出口权
部分校直机客户合作案例
共35条
上一页
1
2
3
校直机
方管 分水管 矩型管 扁钢型材
电机轴 齿轮轴 汽车轴 热处理轴
钢管 钛管 铜管 铝管
圆钢 辊轴 活塞杆 石油转杆
校圆机
齿圈全自动校圆机
齿圈自动校圆机
扭拧机
型材扭拧校正机
钢板扁钢自动扭正机
齿条模组扭曲校正机
联系我们
滕州市尚大自动化装备有限公司
孔经理:15725691968
Q Q:512941061
邮编:277500
邮箱:kongqinganhefanji@163.com
网址:www.yeyaji68.com
地址:滕州市经济技术开发区腾飞西路455号
网站地图 Copyright 2019滕州市尚大自动化装备有限公司 All Rights Reserved
鲁ICP备14017374号-1
新时代网络/技术支持